When four diodes are connected as shown in the illustration below, that circuit is called THE BRIDGE RECTIFIER . The input to the circuit is applied to the diagonally opposite corners of the network, and the output is taken from the remaining two corners.

Bridge rectifier circuit.
During one half-cycle of the applied voltage, point A becomes positive with respect to point B by the amount of voltage induced into the secondary of the transformer. During this time, the voltage between points A and B may be considered to be impressed across V1, the load resistor RL, and V3, in series. The voltage applied across these tubes makes their plates more positive than their cathodes, and current flows from point B through tube V1 in an upward direction across the load resistor, through tube V3, to point A. This path is indicated by the solid arrows. The waveform is shown as numbers (1) and (2).
One half-cycle later, the polarity across the secondary reverses, making the plates of V1 and V3 negative with respect to their cathodes. At the same time, the plates of V2 and V4 become positive with respect to their cathodes, and current flows in the direction indicated by the dashed arrows. The current through RL is always in the same direction. This current, in flowing through RL, develops a voltage corresponding to that shown in waveform (5) of the figure. The bridge rectifier is a full-wave rectifier since current flows through the load during both half cycles of the applied alternating voltage.
One advantage of a bridge rectifier over a conventional full-wave rectifier is that with a given transformer, the bridge rectifier produces a voltage output that is nearly twice that of the conventional full-wave circuit.
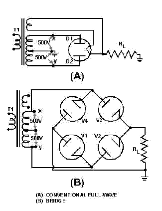
We can show this by assigning values to some of the components as shown in the next illustration below, views (A) and (B). Assume that the same transformer is used in both circuits. The peak voltage developed between points X and Y is 1,000 volts in both circuits.
In the conventional full-wave circuit,view (A), the peak voltage from the center tap to either X or Y is 500 volts. Since only one diode can conduct at any instant, the maximum voltage that can be rectified at any instant is 500 volts. Therefore, the maximum voltage that appears across the load resistor is nearly, but never exceeds, 500 volts (because of the small voltage drop across the tube).
In the bridge rectifier of view (B), the maximum voltage that can be rectified is the full secondary voltage, 1,000 volts. Therefore, the peak output voltage across the load resistor is nearly 1,000 volts. Thus, with both circuits using the same transformer, the full-wave bridge circuit produces a higher output voltage than the conventional full-wave rectifier.

Comparison of conventional full-wave and bridge rectifiers: A. Conventional full-wave circuit.
A second advantage of the bridge rectifier is the low ratio of peak inverse voltage to average output voltage. For this reason bridge rectifiers that use vacuum tubes are widely used in high-voltage power supply applications.
If directly heated diodes are used in a bridge rectifier, three separate filament transformers are required. This is due to the different potentials existing at the filaments of the diodes. The filaments of V2 and V3 in the next illustration below are at the same potential, but the filament of V1 is at a different potential from either V2 or V4.
The three filament transformers must be well insulated from each other, and from ground, because of the high potentials to which they are subjected. The use of indirectly heated diodes would solve the filament transformer problem, but the high potential difference between cathode and heater would be likely to result in arcing.

Bridge rectifier with filament transformers.